
]article_adlist-->
(文/观察者网 吕栋 编辑/张广凯)
一起骇人听闻的“团伙窃密案”,引发广泛关注。
近日,观察者网从知情人士处获悉,上海市第三中级人民法院对尊湃侵犯华为商业秘密案作出一审判决,共有14名前华为海思员工被判处有期徒刑,其中5人实刑(3年-6年)。首犯张琨(美国籍)被判处有期徒刑6年,罚金高达人民币300万元,其余13人合计罚金达1050万元。
对于这一判决结果,元达律师事务所合伙人程玲对观察者网分析称,此案呈现出“案值高、刑责重、链条长”的特征。
“法院之所以选择从快、从重判决,核心在于尊湃系有组织、有预谋的恶意侵权,虽作案手法较为隐蔽,但证据链清晰表明其对原企业技术体系实施了系统性、针对性窃取。当前,国家将原创技术创新置于经济高质量发展的关键位置,司法机关对‘走捷径式’窃密行为已形成零容忍的高压态势。”她说道。
张琨
如果不是此案“东窗事发”,相信很多人都没有听过“尊湃”这个名字。该公司的全称是“尊湃通讯科技(南京)有限公司”股巢网,注册成立于2021年3月,创始人和法定代表人名叫张琨。
网上流传的履历显示,张琨本科就读于北京大学电子工程系,硕士毕业于中科院微电子所。赴美留学后,他曾在美国高通公司工作数年,担任射频工程师,期间开发了数款Wi-Fi/蓝牙产品。2011年,张琨加入华为海思,此后担任技术总监长达十年,主导了多款短距互联芯片的开发。
2021年2月,张琨等人从华为海思离职后创立尊湃,对外号称专注于Wi-Fi 6芯片的研发和生产,并陆续在南京、上海和深圳设立研发团队。基于张琨资深的技术背景,以及团队海思、高通等大企业背景,尊湃在成立当年就获得两轮战略投资,其中不乏地方国资的身影。
“Wi-Fi 6相对Wi-Fi 5由于性能提升对架构有较大升级,在产品的软件、算力、数字、基带、射频和模拟等各个核心模块都存在较大门槛,综合能力强的公司才能打磨出技术上有竞争力的产品。尊湃通讯拥有建制化、有经验的团队,研发速度具备优势。”张琨曾在介绍尊湃时称。
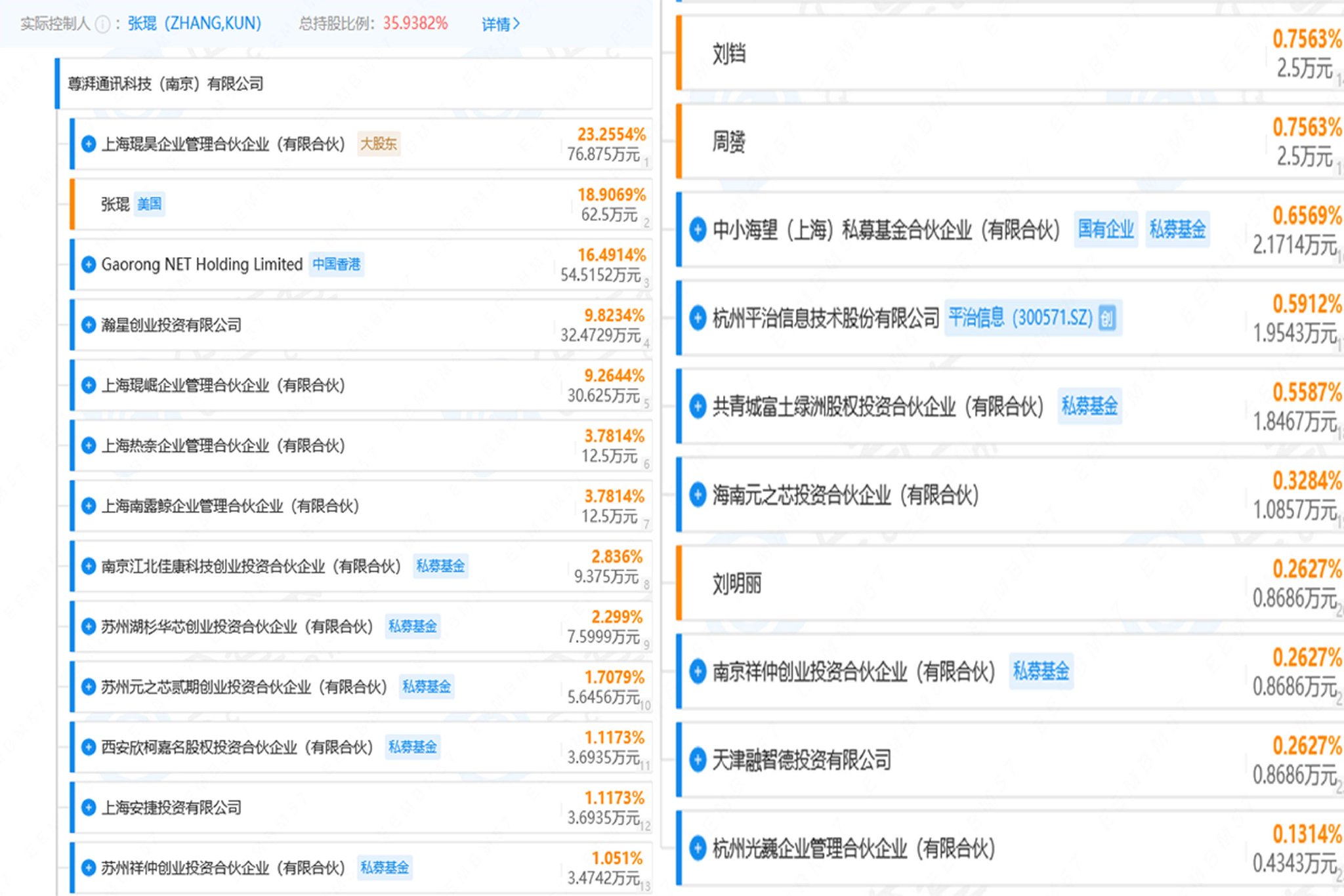
芯片投资热潮下,尊湃备受资本追捧。企查查显示,2022年5月,尊湃获得10余家机构数亿元的Pre-A轮融资,关联方包括FutureX天际资本、小米产投、高榕资本、海望资本、湖杉资本、嘉御资本等。同年11月,该公司再获得FutureX天际资本、湖杉资本的Pre-A+轮投资。2023年1月,富土基金、欣柯创投、上海安捷投资等机构参投尊湃A轮融资。
尊湃股权结构图 图源:企查查
然而,就是这样一个看似不缺钱和技术的团队,背后却是一桩资本支撑下非法牟利的生意。
根据警方调查,张琨、刘某等人为牟取非法利益股巢网,以支付高薪、股权利诱等方式,诱导多名华为海思研发人员跳槽至尊湃,并指使这些人员在离职前通过摘抄、截屏等方式非法获取海思芯片技术信息,抄袭并运用于尊湃设计的同类型芯片上,企图以此非法牟利。
2023年底,在公安部指挥部署和江苏警方大力配合下,上海警方成功侦破尊湃侵犯华为芯片技术商业秘密案,抓获犯罪嫌疑人14名,查扣存储侵权芯片技术的服务器7台。
经鉴定,侵权芯片技术有40个技术点与华为商业秘密的密点具有90%以上同一性,构成实质性相同。“张某团伙的窃密行为,导致权利公司商业秘密灭失,应根据该项商业秘密的研究开发成本、实施该项商业秘密的收益等商业价值来认定造成了权利公司损失。”警方通报称。
至此,张琨等人的违法行为给尊湃带来毁灭性打击,目前该公司已经显示“经营异常”、“被执行人”、“限制高消费”,投资方可能也将遭受巨额损失。
诚然,资本支持科创的作用不可或缺,但这一“团伙窃密”案,给资本的投前尽调和投后管理带来了更多警示,也提醒急于上马“芯片项目”的地方国资,创新必须符合经济社会发展规律,不能脱离实际、急于求成。
就在尊湃创立前三个月,2020年12月,中央政治局第二十五次集体学习还曾强调,创新是引领发展的第一动力,保护知识产权就是保护创新,必须从国家战略高度和进入新发展阶段要求出发,全面加强知识产权保护工作。要完善刑事法律和司法解释,加大刑事打击力度。要加大行政执法力度,对群众反映强烈、社会舆论关注、侵权假冒多发的重点领域和区域,要重拳出击、整治到底、震慑到位......
从这一层面来看,尊湃的“团伙窃密”无疑是一场顶风作案,这或许也是法院重判的原因之一。
图源:上海经侦
“尊湃一案的罚金总额达千万元级别,在侵犯商业秘密刑事案件中处于较高水平,其中多数被告被并处百万元以上罚金。近年来,商业秘密案件在知识产权刑事案件中的占比持续上升。该类犯罪的罚金幅度差异较大,主要取决于涉案商业秘密的价值、权利人损失及侵权情节的严重程度。目前,多数案件的罚金仍集中在10万元至25万元区间。”程玲对观察者网说道。
这起典型的侵权案件,也将让包括华为在内的中国企业更加重视知产保护。“即便华为等头部企业已建立相对完备的知识产权保护体系,但在侵权高发的现实下,仍难以完全杜绝离职员工及竞争主体的恶意行为。因此,对广大企业而言,更需结合自身技术特点,制定并落实具有针对性和可操作性的保密措施,构建较为完整的商业秘密管理体系。”程玲分析称。
与此同时,国家也在法律层面不断提升对知识产权的保护力度。十八大以来,我国对专利法、商标法、著作权法、反不正当竞争法等知识产权专门法律进行了多次修改,在北京、上海、广州设立知识产权法院,构建了全方位、立体化保护的知识产权法律体系。2023年,我国企业发明专利产业化率达51.3%,较上年提高3.2个百分点,连续5年保持增长态势。
“传统知识产权案件确实存在举证难度大、赔偿数额相对实际损失偏低的问题。对此,我国立法与司法机关目前已经通过持续完善知识产权法律制度,显著加大了对恶意侵权行为的惩处力度。”程玲对观察者网表示,“比如,在刑事领域,最高人民法院、最高人民检察院于2025年4月24日发布《关于办理侵犯知识产权刑事案件适用法律若干问题的解释》,下调部分入罪门槛、增设入罪情形,并明确从重处罚情节及提高罚金上限。在民事领域,早在2019年修正的《反不正当竞争法》中已将侵害商业秘密等行为的法定处罚上限统一提高至500万元,并同步引入惩罚性赔偿机制,显著抬高违法成本。2025年6月27日,我国对《反不正当竞争法》再次进行修订,进一步对上述规定予以明确和细化。”
“知识产权保护已从单一的司法救济扩展为行政执法与司法保护并行的新格局,以尊湃案为例,2023年警方经侦部门即对14名涉案人员采取刑事强制措施,并在诉前阶段即责令侵权方停止侵权,体现出行政力量的前置介入效率。”她接着介绍道,“针对举证难的问题,司法审判部门也在逐步优化举证责任分配,比如尊湃案中,在华为完成初步举证后,被诉方也须就其未实施侵权行为承担相应的证明责任。”
知识产权是智力劳动成果的所有权,也是科技创新的硕果。行业人士指出,尊湃一案体现了华为通过法律手段维权,保护员工智力成果的决心,同时也再度佐证了,创新唯有脚踏实地,没有捷径可走。
海量资讯、精准解读,尽在新浪财经APP
责任编辑:王翔 股巢网
大牛证券提示:文章来自网络,不代表本站观点。